LGCE (SDLG) LG969 (2007.07)
1 154 000 товаров
Погрузчик фронтальный
Модификация: ДВС 4190000536 SDEC C6121ZG20 (C6ZG20e) ГТР 4110000042002 (ZF 4168034034) КПП 4110000042 (ZF 4WG200) Мост перед. 2907000004 (4110000047) ZF AP-411/HK Мост задн. 2909000763 (4110000045) ZF AP-409/DK
-
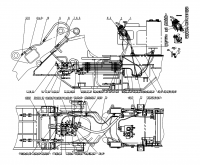
Система дизельного двигателя
-
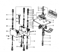
Система управления регулятора оборотов
-
Радиатор в сборе (часть I)
-
Радиатор в сборе (часть II)
-
Система ведущего моста
-
Мост передний в сборе
-
Мост задний в сборе
-
Вал приводной в сборе
-
Диск колёсный с шиной в сборе
-
Насос рабочий в сборе
-
Привод гидравлический в сборе
-
Цилиндр подъёма в сборе
-
Цилиндр разгрузки ковша
-
Насос шестерёночный
-
Цилиндр механизма опрокидывания
-
Цилиндр стрелы
-
Клапан распределительный
-
Сдвоенный шестерёнчатый насос
-
Клапан приоритетный
-
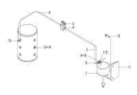
Топливный бак в сборе
-
Маслобак в сборе
-
Оборудование рабочее (пальцы, втулки)
-
Ковш в сборе
-
Насос рулевого управления
-
Редуктор рулевой в сборе
-
Цилиндр рулевого управления в сборе
-
Редуктор рулевой
-
Цилиндр рулевой
-
Система тормозная
-
Воздухосборник, распределитель тормоза, воздухоосушитель
-
Главный тормозной цилиндр
-
Система стояночного тормоза
-
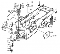
Рама передняя
-
Рама задняя
-
Противовес
-
Кабина в сборе
-
Комплектующие кабины
-
Сиденье в сборе
-
Капот в сборе
-
Лестница левая (для доступа в кабину оператора)
-
Лестница правая (для доступа в кабину оператора)
-
Кронштейн фар (левый и правый)
-
Брызговик передний (левый, правый)
-
Кондиционер
-
Электросистема фронтального погрузчика