LGCE (SDLG) LG968 (2009.12)
1 154 000 товаров
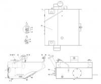
Погрузчик фронтальный
Модификация: ДВС 4110000565 SDEC C6121ZG61B (CB0046) ГТР 4110000042002 (ZF 4168034034) КПП 4110000042 (ZF 4WG200) Мост перед. 29070010901 (A501A) Мост задн. 29090008181 (A501A) Компл. E6811213A39
-
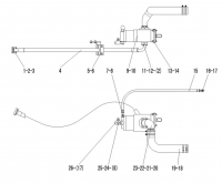
Электросистема (часть I)
-
Электросистема (часть II)
-
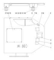
Панель в сборе
-
Колонка рулевая
-
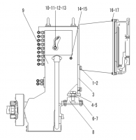
Система дизельного двигателя
-
Топливный бак в сборе
-
Радиатор в сборе
-
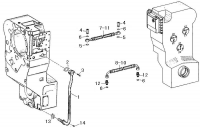
Система управления регулятора оборотов
-
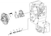
Двигатель дизельный
-
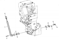
Коробка передач в сборе
-
Конвертер (гидротрансформатор) (4644 130)
-
Гидротрансформатор 4166 034
-
Корпус коробки передач (внутренняя часть) (4644 102)
-
Крепёжные части коробки передач (4644 101)
-
Вал промежуточный (4644 108)
-
Муфта сцепления KV+K1 4644 151
-
Муфта сцепления KR+K2 4644 152
-
Муфта сцепления 4644 153
-
Вал выходной (4644 103)
-
Тормоз стояночный 4644 109
-
Колодка тормозная 0501 003
-
Вал отбора мощности 4644 154
-
Механизм отбора мощности 4644 155
-
Механизм переключения передач 4644 106 (часть I)
-
Механизм переключения передач 4644 159 (часть II)
-
Регулятор давления 4644 120
-
Фильтр гидравлический 4644 138
-
Заглушка насоса аварийного рулевого управления 644 137
-
Датчик индуктивный 4644 125
-
Горловина заливная 4644 131
-
Трубки масляные КПП 644 121
-
Комплектующие (рычаг управления КПП 4644 199)
-
Мост передний в сборе
-
Главный привод переднего моста
-
Передача бортовая в сборе
-
Вал приводной в сборе
-
Мост задний в сборе
-
Главный привод заднего моста
-
Суппорт тормозной (371328)
-
Шина GB2980-23.5-25 (520101)
-
Гидравлический привод управления в сборе
-
Насос рабочий в сборе
-
Цилиндр подъёма стрелы
-
Цилиндр наклона в сборе
-
Маслобак в сборе
-
Цилиндр наклона (371368)
-
Цилиндр подъёма (371368)
-
Оборудование рабочее
-
Ковш в сборе
-
Насос рулевого управления в сборе
-
Механизм управления в сборе
-
Цилиндр рулевого управления в сборе
-
Цилиндр рулевого управления (371368)
-
Система тормозная
-
Воздухосборник
-
Главный тормозной цилиндр
-
Система стояночного тормоза
-
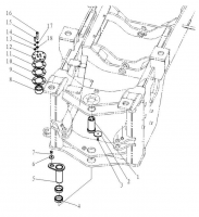
Рама передняя
-
Соединение шарнирное в сборе
-
Кронштейн фар и брызговик передний
-
Рама задняя и комплектующие
-
Противовес
-
Кабина в сборе
-
Комплектующие кабины
-
Панель рабочая
-
Сиденье в сборе
-
Чехол-накладка переключателя скоростей
-
Капот в сборе
-
Лестница левая (для доступа в кабину оператора)
-
Лестница правая (для доступа в кабину оператора)
-
Лампа задняя (указатель поворота)
-
Логотипы и опознавательные знаки
-
Ящик аккумуляторной батареи
-
Ящик для инструментов
-
Кондиционер