LGCE (SDLG) LG968 (2007.07)
1 154 000 товаров
Погрузчик фронтальный
Модификация: ДВС 4190000536 SDEC C6121ZG20 (C6ZG20e) ГТР 4110000042002 (ZF 4168034034) КПП 4110000042 (ZF 4WG200) Мост перед. 2907000004 Мост задн. 2909000004
-
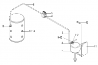
Система дизельного двигателя
-
Система управления регулятора оборотов
-
Радиатор в сборе (часть I)
-
Радиатор в сборе (часть II)
-
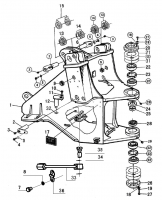
Система ведущего моста
-
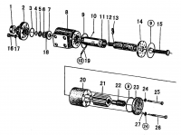
Мост передний в сборе
-
Редуктор главный переднего моста
-
Мост задний в сборе
-
Редуктор главный заднего моста
-
Передача бортовая в сборе
-
Диск колесный с шиной в сборе
-
Насос рабочий в сборе
-
Привод гидравлический в сборе
-
Цилиндр подъёма в сборе
-
Цилиндр разгрузки ковша
-
Насос шестерёночный
-
Цилиндр механизма опрокидывания
-
Цилиндр стрелы (левый)
-
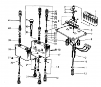
Клапан распределительный
-
Сдвоенный шестерёнчатый насос
-
Клапан приоритетный
-
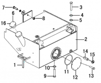
Бак топливный в сборе
-
Маслобак в сборе
-
Оборудование рабочее
-
Ковш в сборе
-
Насос рулевого управления
-
Редуктор рулевой
-
Цилиндр рулевой в сборе
-
Шестерня рулевого механизма
-
Цилиндр рулевой
-
Система тормозная
-
Тормоз дисковый
-
Воздухосборник, распределитель тормоза, воздухоосушитель
-
Главный тормозной цилиндр
-
Система стояночного тормоза
-
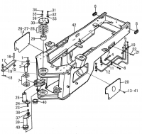
Рама передняя
-
Рама задняя
-
Противовес
-
Кабина в сборе
-
Комплектующие кабины
-
Сиденье в сборе
-
Капот в сборе
-
Лестница левая (для доступа в кабину оператора)
-
Лестница правая (для доступа в кабину оператора)
-
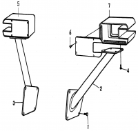
Кронштейн фар (левый и правый)
-
Брызговик передний (левый, правый)
-
Кондиционер
-
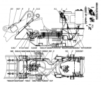
Электросистема фронтального погрузчика