LGCE (SDLG) G9220 (2014.12)
1 154 000 товаров
Грейдер
Модификация: ДВС 4110002237 Dalian Deutz BF6M1013ECP (BF6M1013-22T2-1820) ГТР 4110002230012 (ZF 4168.034.016) КПП 4110002230 (ZF 4644.026.376) Мост перед. 28080002021 Мост задн. 4110001903 (90000283-18MRH-X242A)
-
Двигатель
-
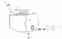
Топливный бак в сборе
-
Топливный бак
-
Радиатор в сборе
-
Радиатор LY-LGG8190 (321002)
-
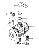
Коробка передач в сборе
-
Конвертер (гидротрансформатор) (4644 130 700)
-
Конвертер (внутренняя часть) (4166 034 072)
-
Корпус коробки передач (4644 101 249)
-
Заглушка коробки передач (4644 101 491)
-
Вал промежуточный (4644 108 234)
-
Муфта сцепления (KV+K1 4644 151 104)
-
Муфта сцепления (4644 151 545)
-
Муфта сцепления (KR+K2 4644 152 136)
-
Муфта сцепления (KR+K2 4644 152 546)
-
Муфта сцепления (K3+K4 4644 153 234)
-
Муфта сцепления КПП (K4+K3 4644 153 501)
-
Вал выходной (4644 103 111)
-
Фланец выходного вала (4644 103 481)
-
Вал отбора мощности (4644 154 481)
-
Механизм отбора мощности (4644 155 475)
-
Фланец соединительный (4644 109 404) (тормоз стояночный)
-
Система переключения передач (4644 159 348)
-
Датчик индуктивный (4644 125 018)
-
Заглушка насоса аварийного рулевого управления (4644 137 022)
-
Уплотнение щупа КПП (4644 131 419)
-
Трубки масляные КПП (4644 121 150)
-
Комплектующие (рычаг управления КПП (4644 183 085))
-
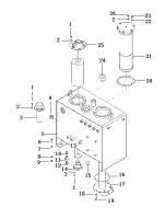
Радиатор коробки передач в сборе
-
Фильтр гидравлический (4642 199 912)
-
Мост передний в сборе
-
Ось передняя
-
Ось левая
-
Ось правая
-
Ось задняя
-
Колесо заднего моста
-
Мост в сборе (90000283)
-
Редуктор главный в сборе (82513600)
-
Редуктор планетарный в сборе (93000011)
-
Тормоз в сборе (84787100)
-
Противовес левый в сборе (90500021)
-
Противовес правый в сборе (90500022)
-
Вал приводной в сборе
-
Вал приводной (330101)
-
Маслобак в сборе
-
Фильтр масляный XNL-250х10-566
-
Насос рабочий в сборе
-
Гидролиния в сборе
-
Блок клапанов управления
-
Цилиндр наклона в сборе
-
Управление шарнирное рулевое в сборе
-
Отвал в сборе
-
Гидроцилиндр рулевого управления 115х50х303-610 (3713CH)
-
Гидролиния отвала
-
Гидролиния стрелы
-
Соединение шарнирное
-
Гидроцилиндр 80х60х63.5 (3713CH)
-
Гидроцилиндр наклона 90х50х693.5-955.5 (3713CH)
-
Гидроцилиндр подъёма 90х50х1379.5-493.5 (3713CH)
-
Гидроцилиндр поворота 80х35х279.5-507 (3713CH)
-
Оборудование поворотное в сборе (тяга поворотного круга)
-
Платформа поворотная (качения)
-
Оборудование рабочее (часть I)
-
Оборудование рабочее (часть II)
-
Шаровая головка в сборе
-
Отвал
-
Насос рулевого управления в сборе
-
Редуктор рулевой
-
Цилиндр рулевого управления в сборе
-
Клапан приоритетный
-
Насос шестеренчатый в сборе
-
Гидроцилиндр наклона передний 100х50х169-473 (3713CH)
-
Цилиндр рулевой правый 63х45х340-577 (3713CH)
-
Цилиндр рулевой левый 63х45х340-577 (3713CH)
-
Тормоз стояночный в сборе
-
Система стояночного тормоза LG19-CZJG-LGS814
-
Тормоз рабочий в сборе
-
Фильтр тормозной системы
-
Клапан тормозной в сборе
-
Клапан обратный возврата масла в сборе
-
Клапан предварительного наполнения
-
Аккумулятор в сборе
-
Клапан электромагнитный в сборе
-
Рама передняя в сборе
-
Соединение шарнирное в сборе
-
Противовес
-
Кабина в сборе
-
Комплектующие кабины (часть I)
-
Комплектующие кабины (часть II)
-
Комплектующие кабины (часть III)
-
Вентиляционная установка
-
Комплектующие кабины (внутренние части) (часть I)
-
Комплектующие кабины (внутренние части) (часть II)
-
Дверь в сборе (часть I)
-
Дверь в сборе (часть II)
-
Крышка кондиционера в сборе
-
Сиденье в сборе
-
Рабочее оборудование в сборе
-
Рычаг управления в сборе
-
Кронштейн гидрораспределителя
-
Чехол-накладка переключателя скоростей
-
Рулевое управление в сборе
-
Капот в сборе
-
Крышка верхняя в сборе
-
Логотипы и опознавательные знаки
-
Комплектующие (дополнительное оборудование)
-
Кронштейн в сборе
-
Кондиционер в сборе
-
Блок электропитания
-
Электросистема задней рамы
-
Электросистема кабины
-
Электросистема двигателя
-
Электросистема передней рамы
-
Электросистема капота
-
Электросистема кабины в сборе