LGCE (SDLG) LG936L (2009.12)
1 154 000 товаров
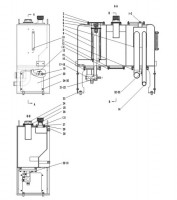
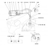
Погрузчик фронтальный
Модификация: ДВС 4110000587 Deutz TD226B-6IG15 (13040183) ГТР 4110000160 (YJSW315-2A)КПП 29050010701 (A303) (КПП+ГТР 2020900156) Мост перед. 2050900049 Мост задн. 2050900051 Компл. E3613115A36
Редуктор передний
Редуктор бортовой
Редуктор задний
Валы карданные
Пальцы ковша
Пальцы передней полурамы
Пальцы задней полурамы
-
Гидротрансформатор YJSW315-2A (370804)
-
Очиститель QF60M33G-1 (410708)
-
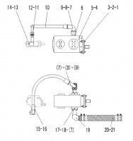
Коробка передач
-
Коробка передач в сборе A303 (внутренняя часть)
-
Вал КПП 3-й скорости
-
Вал КПП 4-й скорости
-
Вал КПП 4-й скорости (внутренняя часть)
-
Вал вторичный в сборе
-
Переключатель передач КПП
-
Распределительный клапан коробки передач LG03-BSF (350802)
-
Передний ведущий мост в сборе
-
Передача бортовая в сборе
-
Задний ведущий мост в сборе
-
Суппорт тормозной (371328)
-
Система приводных мостов
-
Шина GB2980-23.5-25 (520101)
-
Гидравлический привод управления
-
Насос рабочий в сборе
-
Подъёмный цилиндр в сборе
-
Цилиндр наклона в сборе
-
Маслобак в сборе
-
Цилиндр опрокидывания ковша
-
Цилиндр стрелы
-
Клапан управления
-
Рабочее оборудование
-
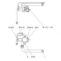
Насос рулевого управления
-
Рулевой механизм
-
Рулевой цилиндр в сборе
-
Рулевой цилиндр (371368)
-
Рабочий тормоз в сборе
-
Воздухосборник
-
Цилиндр тормозной главный
-
Система стояночного тормоза
-
Рама передняя
-
Задня рама и комплектующее
-
Кронштейн фар и крыло переднего колеса
-
Противовес
-
Кабина в сборе
-
Кабина
-
Станина
-
Сиденье в сборе
-
Коробка функциональная
-
Капот двигателя в сборе
-
Стойка левая в сборе
-
Стойка правая в сборе
-
Кронштейн фар (левый, правый)
-
Крыло колеса (левое, правое)
-
Аккумуляторный ящик
-
Лестница нижняя
-
Логотипы и опознавательные знаки
-
Кондиционер
-
Электросистема
-
Электросистема II
-
Панель управления
-
Рулевая колонка