LGCE (SDLG) LG6210E (2010.12)
1 154 000 товаров
Экскаватор гусеничный
Модификация: ДВС 11211251 (в разборе) Dalian Deutz BF6M2012-18T2-1807
-
Двигатель в сборе
-
Крепёжные средства двигателя
-
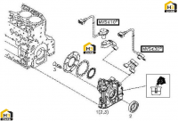
Бак топливный и крепёжные средства
-
Насос подачи топлива и крепжные средства
-
Система гидравлики топливного бака
-
Фильтр-сепаратор воды
-
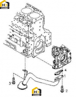
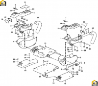
Система выпуска выхлопных газов
-
Воздухозаборная система
-
Патрубки радиатора
-
Система охлаждения двигателя
-
Радиатор в сборе
-
Вентилятор охлаждения
-
Вал коленчатый
-
Шатун
-
Поршень в сборе
-
Штанга толкателя
-
Болты крепежные крышки
-
Актуатор
-
Уплотнение резиновое крышки
-
Датчик скорости
-
Пробка с шестигранной головкой крышки
-
Датчик температуры
-
Толкатель с роликом
-
Трубка высокого давления
-
Уплотнение резиновое
-
Топливная рейка
-
Форсунка охлаждения поршня
-
Насос для впрыска топлива
-
Прокладка головки цилиндров
-
Распредвал двигателя
-
Крепёжные средства (шайбы)
-
Картер блока цилиндров
-
Форсунка топливная
-
Крепление форсунки
-
Головка блока цилиндров
-
Болт крепежный
-
Заглушка крепежная
-
Система смазки и подачи масла (часть I)
-
Коллектор выхлопной
-
Турбокомпрессор
-
Система смазки и подачи масла (часть II)
-
Крепежные средства турбокомпрессора
-
Заглушка крепежная коллектора
-
Патрубок воздушный турбокомпрессора
-
Крепежные средства коллектора
-
Крепление стартера к двигателю
-
Сапун картера
-
Входной патрубок компрессора
-
Гидролиния коллектора
-
Зажим крепления патрубка турбокомпрессора
-
Маслосборник
-
Всасывающая масляная трубка
-
Крепёжные средства блока цилиндров
-
Крышка масляного насоса
-
Щуп указателя уровня масла
-
Крепление масляной трубки
-
Крепёжные средства картера маховика
-
Пружинный штифт картера маховика
-
Крепежные пластины картера маховика
-
Маховик
-
Крепёжные средства кронштейна водяного насоса
-
Кронштейн вентилятора
-
Патрубок выходного отверстия
-
Термостат
-
Схема подключения
-
Шкив коленвала
-
Крепежный кронштейн генератора
-
Генератор
-
Крепеж вентилятора
-
Топливный насос
-
Шкив клинового ремня
-
Крепеж шкива
-
Ремень ГРМ
-
Составные части для работы клинового ремня
-
Натяжитель ремня
-
Болт крепежный фланца шкива
-
Комплект шкива
-
Комплект крепежных средств (дополнительный) (часть I)
-
Комплект крепежных средств (дополнительный) (часть II)
-
Заглушки блока цилиндра (часть I)
-
Заглушки блока цилиндра (часть II)
-
Заглушки блока цилиндра (часть III)
-
Крышка и крепежные средства коробки передач
-
Втулка блока цилиндров
-
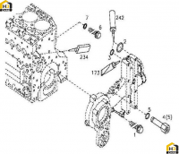
Клапанная крышка
-
Крепёжные средства крышки
-
Болт крепежный масляного радиатора
-
Крепёжные средства корпуса охладителя масла (часть I)
-
Масляный радиатор
-
Корпус охладителя масла
-
Крепёжные средства корпуса охладителя масла (часть II)
-
Масляный фильтр и система смазки
-
Крепёжные средства корпуса охладителя масла и клапанной крышки
-
Штуцер крепежный
-
Клапан возврата
-
Крепёжные средства масляной трубки
-
Топливопровод (часть I)
-
Топливопровод (часть II)
-
Топливный фильтр
-
Клапан насоса
-
Пластина опорная для подъема блока цилиндров
-
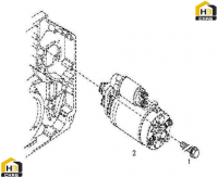
Стартер
-
Крепёжные средства стартера
-
Блок управления двигателем
-
Датчик давления
-
Прокладки воздуховода
-
Заглушка воздуховода
-
Пластина воздуховода
-
Жгут проводов кабеля (часть I)
-
Жгут проводов кабеля (часть II)
-
Болт крепежный крышки цилиндров
-
Реле
-
Датчик импульсов
-
Датчик давления масла
-
Заглушка крышки цилиндров
-
Трубка направляющая крышки цилиндров
-
Фланец крепежный воздуховода
-
Батарея с крепежами
-
Замок зажигания с ключами
-
Освещение переднее
-
Фара рабочего освещения
-
Клаксон (гудок)
-
Система омывателя лобового стекла
-
Переключатель (часть I)
-
Переключатель (часть II)
-
Электронный блок
-
Аккумулятор и кабели
-
Кабель и жгут проводов
-
Кабель и жгут проводов двигателя
-
Кабель и жгут проводов панели приборов
-
Кабель и жгут проводов кабины
-
Электрическое реле
-
Датчик уровня топлива
-
Панель приборов
-
Магнитола и детали крепления
-
Блок дистанционного управления
-
Бортовой редуктор
-
Редуктор поворотный
-
Муфта эластичная КПП
-
Крепежные средства редуктора хода (часть I)
-
Редуктора хода (часть I)
-
Крепежные средства редуктора хода (часть II)
-
Редуктора хода (часть II)
-
Шарнир поворотный
-
Шестерня поворотная
-
Защитная пластина
-
Защитная пластина поворотного редуктора
-
Противовес
-
Звено цепи
-
Крепеж гусеничной ленты
-
Натяжитель гусеницы
-
Направляющее колесо гусеницы
-
Каток верхний
-
Каток нижний
-
Звездочка (зубчатый сегмент гусеницы)
-
Крепежные средства ступеньки
-
Крепежные средства рамы кабины
-
Кабина оператора (часть I)
-
Кабина оператора (часть II)
-
Кабина оператора (часть III)
-
Кабина оператора (часть IV)
-
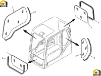
Обшивка кабины
-
Обшивка кабины (капот)
-
Дверь боковая (часть I)
-
Дверь боковая (часть II)
-
Крышка, клапан управления
-
Крепежные средства (пластины) главного насоса
-
Поручень
-
Ящик для инструментов, освещение
-
Дверь кабины оператора
-
Отопление кабины
-
Крышка-пластина защитная насоса, охладителя, топливного бака
-
Крепежные средства зеркала заднего вида
-
Зеркало заднего вида
-
Стекла кабины
-
Ветровое стекло кабины
-
Сиденье оператора
-
Солнцезащитная шторка
-
Крепежные средства солнцезащитной шторки
-
Трубка кондиционирования воздуха, охладитель и обогреватель
-
Воздуховод и отопление кабины
-
Блок кондиционирования воздуха, охладитель и обогреватель
-
Панель приборов, панель управления
-
Панель магнитолы
-
Противоскользящие накладки
-
Ящик инструментов
-
Ярлык-лого наклеивающийся на машину
-
Ярлык-лого наклеивающийся на кабину
-
Бак гидравлического масла
-
Кулак поворотный, клапан гидравлический
-
Гидравлическое управление редукторов хода
-
Система гидравлики
-
Система гидравлики (масляный радиатор)
-
Система гидравлики (гидравлический насос)
-
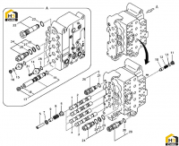
Клапан гидравлический (управления)
-
Клапан гидравлический предохранительный (управления стрелы)
-
Клапан гидравлический (стрела и ковш)
-
Клапан гидравлический (управление поворотом)
-
Кронштейн крепежный клапана гидравлического
-
Крепежные средства насоса
-
Насос гидравлический
-
Регулятор гидравлического насоса
-
Насос с зубчатой передачей
-
Система сервопривода, клапан управления, клапан дистанционного управления
-
Система сервопривода, клапан управления педалью
-
Система сервопривода, клапан соленоидный
-
Система сервопривода, трубки, шланги клапана управления
-
Система сервопривода, трубки, насос, кронштейн фильтра
-
Педаль клапана дистанционного управления
-
Педаль клапана дистанционного управления (двигатель)
-
Система сервопривода, рычаг переключения передач
-
Крепежные средства гидроклапана (часть I)
-
Крепежные средства гидроклапана (часть II)
-
Гидравлическая система (цилиндр, стрела)
-
Гидроцилиндр стрелы
-
Гидроцилиндр ковша
-
Крепежные средства ковша
-
Пальцы ковша
-
Пальцы стрелы
-
Система смазки стрелы
-
Цилиндр стрелы
-
Пальцы рукоятки
-
Уплотнения рукоятки
-
Цилиндр рукоятки
-
Шатуны рукоятки
-
Цилиндр ковша
-
Кольца уплотнительные (тип А)
-
Кольца уплотнительные (тип B)
-
Кольца уплотнительные (тип C)
-
Кольца уплотнительные (тип D)
-
Кольца уплотнительные (тип E)
-
Кольца уплотнительные (тип F)
-
Кольца уплотнительные (тип G)
-
Кольца уплотнительные (тип H)
-
Кольца уплотнительные (тип I)
-
Кольца уплотнительные (тип J)
-
Кольца уплотнительные (тип K)
-
Кольца уплотнительные (тип L)
-
Кольца уплотнительные (тип M)
-
Кольца уплотнительные (тип N)